产品中心
GPFC-1型智能风机控制装置
GPFC-1
产品描述
概述
GPFC-1是专门为开关柜强制空气冷却而设计的智能数字散热系统。全新的数字化方式取代温度间接控制,绝对解决了因温度、风机频繁动作、启动滞后等导致的开控点误差大等问题。它是由独立的控制和观察回路元件组成的最新产品,可以连续观察风机的工作状态。具有对启动当前站点设定、选择手动强制开启模式、级联工作对启动当前现场的特点。
采用单片机为主控制器,并添加了一些实用的控制程序,使控制方式更加合理。成熟的数字电路设计,先进的工艺,完善的相关测试,使其具有工作寿命长、抗干扰能力强、节点少、电路优化等特点,在实际应用中保证了产品的高可靠性和稳定性。
技术参数
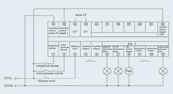
图纸
接线图






